Velo3D, Inc. (NYSE: VLD), a leading metal additive manufacturing company, announced on December 23, 2021 that it has delivered the first Sapphire® XC. This machine has 8 1kW lasers, which is the latest of Velo3D. , The largest metal3D printingThe machine can realize faster production and make larger metal parts.Same as the previous generation of Sapphire printers, Sapphire XC also uses Flow™ to prepare for printing
software
, Assure™ quality control software and IntelligentFusion manufacturing process.
Sapphire XC that has received much attention
The key parameters of the machine:
- Larger build volume: Using laser powder bed fusion (LPBF) technology, the build volume is 600 mm in diameter and 550 mm in height.
- Additional lasers: Equipped with eight 1 kW lasers that selectively weld powder metal layer by layer, while Sapphire uses only two 1 kW lasers.
- Faster non-contact recoating machine: Using Velo3D’s proprietary bump-resistant recoating machine, the speed is twice that of Sapphire, greatly reducing non-productive time.
- Supporting software: Flow™ pre-press preparation software that can analyze parts design, and Assure™ quality assurance and control system that can monitor construction and provide detailed reports layer by layer, seamlessly compatible with Sapphire printers.
- Printing efficiency: The output is increased by 400%, and the production cost is reduced by 75%.
Velo3D currently has 17 SapphireXC printers and a backlog of 19 additional orders. Although the company did not specify which aerospace company it is, currently SpaceX, Launcher, Primus Aerospace, Honeywell and other companies have become Velo3D customers.
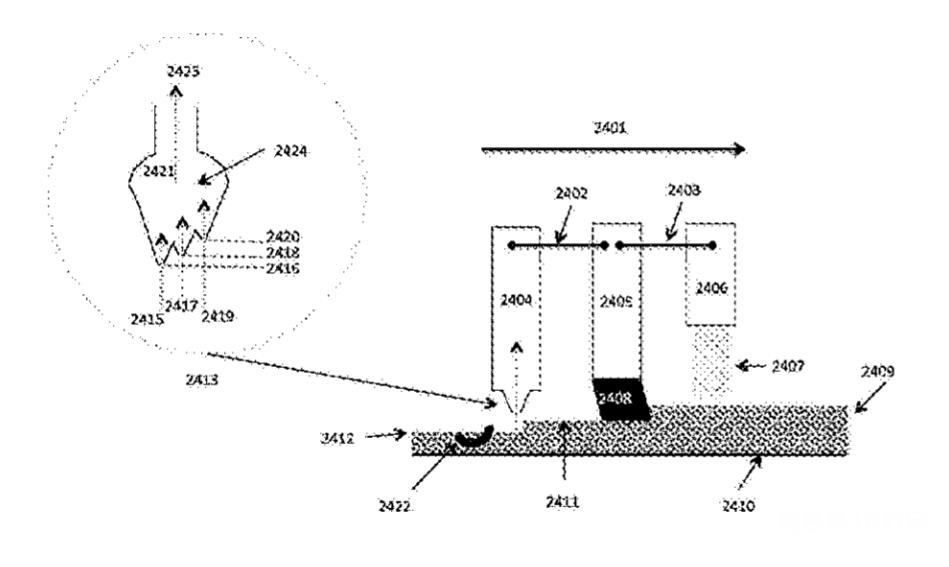
VELO3D is different from the existing powder bed welding process. It can print low-angle or even 0° (horizontal) overhangs, as well as large diameter and up to 100mm inner tubes without support.Not only omitted
Post-processing
, And overcame the 45° rule-if the angle is less than 45°, support must be added.
According to VELO3D, the core technology is a re-coater process, called a non-contact squeegee. It does not use the traditional contact scraper powder spreading mechanism, but adopts non-contact technology, that is, the blade does not contact the metal powder bed during powder spreading. After the powder is spread, the scraper performs a non-contact process on the powder layer to ensure that the powder is absolutely flat. In the whole process, the scraper does not contact the actual bed or parts, realizing a high degree of freedom of unsupported metal 3D printing. It is understood that this process is very good at producing aspect ratios, thin-walled parts, large parts, etc.
At present, VELO3D’s unsupported metal 3D printing patents have applied for more than 30 patents in the United States, Europe, China and other countries, many of which have more than 100 pages! Related patents have been sorted out for everyone, download link:
https://pan.baidu.com/s/11odmQG2Ci0DK7-6CAqhCYQ
Extraction code: p06b.
With the continuous development of metal 3D printing, the multi-laser system seems to be a direction to increase the manufacturing speed.
EOS
, SLM Solutiuons, and Chinese
Bright
,
Huashu Hi-Tech
,
Hanbang
Technology,
Easy Plus 3D
, Zhongrui Technology,
Xin Jinghe
WaitMetal3D printerManufacturers have launched multi-laser metal 3D printers, some even equipped with 10 lasers.
Huashu Hi-Tech Farsoon is in
TCT
The FS721M-8 equipped with eight 1000-watt fiber lasers was released at the Asian trade show. This is the company’s largest printer so far, with a build volume of 720x 420x 420 mm. The machine’s forming rate can reach 250-300ml/h, which is twice as fast as 4 lasers. The printing quality and performance of the multi-beam overlap area and non-lap area are close to the same. It can be manufactured including titanium alloys, nickel-based superalloys, and aluminum alloys. , Stainless steel and other materials. The large-size forming cylinder can meet the size requirements of parts in a variety of application scenarios, and solve the problem of integrated forming efficiency of large-scale complex structures in high-end applications.
(Editor in charge: admin)

0 Comments for “Velo3D delivers 8-laser unsupported metal 3D printer Sapphire XC, the customer comes from aerospace”