Most liquid propellant rocket engines use fuel (for example, liquid hydrogen) and oxidizer (for example, liquid oxygen). One or more propellants are pumped into the combustion chamber and burned to produce high-temperature, high-pressure and high-speed airflow. The airflow passes through the throat, which accelerates the airflow before leaving the engine through the nozzle. The propellant may be a cryogenic liquid and may circulate through the walls of the nozzle to cool the nozzle before being injected into the combustion chamber.
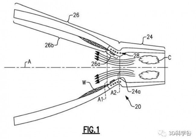
The liquid propellant rocket engine developed by Aerojet Rocketdyne includes a combustion chamber including a throat and a rear nozzle of the throat. The nozzle has a first nozzle portion adjacent to the throat and a second nozzle portion behind the first nozzle portion. The first nozzle section has active cooling features, and the second nozzle section does not include any active cooling features.
Combination of new design and new materials
The first part of the nozzle developed by Aerojet Rocketdyne is metal, while the second part of the nozzle is a non-metallic carbon fiber reinforced polymer matrix composite material.
The metal nozzle part is designed with an internal cooling channel that can form water condensate from the combustion products. The condensed water in contact with the non-metal nozzle part keeps the non-metal nozzle part below the temperature limit.
Combination of active cooling and passive cooling
Aerojet Rocketdyne’s passive cooling design can be applied to many different types of liquid propellant engines. The passive cooling scheme can be applied to lighter or stronger materials (such as graphite or carbon reinforced polymer matrix composites, or Inconel or other alloy metal materials).
Liquid Propellant Rocket Engine © Aerojet Rocketdyne Patent
According to the in-depth understanding of 3D Science Valley, the first part of the nozzle and the guide piece pass3D printing-Additive manufacturing is manufactured in the form of structural integration. The spacing of the guides provides a more uniform distribution of water, which in turn may allow the use of even lower temperature resistant materials in the second nozzle section.
According to market information, Aerojet Rocketdyne is a leading aerospace and defense company dedicated to providing propulsion systems and other innovative technologies for mission-critical applications. Currently, the company is developing a liquid engine for the world’s most powerful rocket, NASA’s Space Launch System (SLS), which will achieve breakthrough space flights, including future manned flights to Mars.
The research and development work started with the RS-25 rocket engine, which is the first large-scale reusable rocket engine in history. These engines have successfully driven all 135 space shuttle flights and achieved a number of advances in space technology, such as microgravity research, the construction of the International Space Station, and the deployment and service of the Hubble Space Telescope.
Aerojet Rocketdyne will use the RS-25 engine to support NASA SLS carrying the “Orion” multifunctional manned spacecraft. From the initial unmanned navigation, it will gradually develop to the flight with four astronauts, cargo and equipment, and complete the long-term Deep space exploration mission.
The existing RS-25 engines will be expanded to four to provide thrust for the core stage of the launch vehicle. The vacuum thrust of each engine will exceed 512,000 pounds (109% of the rated power level) to increase the rocket’s carrying capacity. With the development of SLS, it will have an unprecedented payload capacity of up to 130 metric tons.
The new engine control unit adopts integrated ADI technology, which can realize the communication between the launch vehicle and the engine, and provide closed-loop management for the engine by adjusting the thrust and fuel mixture ratio. It can also provide electrical energy to all control units, sensors and controls, and monitor the engine Health status and status.
Each has its own advantages in design and material combination
Aerojet Rocketdyne’s traditional and new product development work has benefited from3D printingTechnologies, such as the MPS-120 small satellite propulsion system developed by Aerojet Rocketdyne, the Bantam engine series of economical small and medium boosters, the RL10 large rocket engine, and the high-thrust supercharged engine AR1.
Aerojet Rocketdyne is committed to new designs achieved through additive manufacturing, and its Defense Advanced Program (aka Rocket Shop) also stands out. The plan includes the application of supersonic speed, missile defense, and strategic systems.
According to the market research of 3D Science Valley, Aerojet Rocketdyne supersonic propulsion technology has been accumulated for more than 30 years. Aerojet Rocketdyne’s scramjet has provided power for the record X-51A WaveRider test.Since then, Aerojet Rocketdyne has accelerated the progress of research and development, and compared the results achieved in the past with them in the3D printing/The combination of advances in additive manufacturing has made it a reality to manufacture the next generation of hypersonic propulsion systems.
According to the understanding of 3D Science Valley, the nozzle developed by Aerojet Rocketdyne isNASAThe development has its own merits. NASA deposits bimetallic materials on the back end of the GRCop-42 copper chamber through the DED directional energy deposition additive manufacturing process to form a rocket thrust chamber nozzle with bimetallic axial joints, and realizes continuous cooling to solve the problem. Some design challenges and interface issues of bolt connection design were addressed, and then the entire thrust chamber assembly (TCA) was packaged through the outer packaging of carbon fiber polymer matrix composite (PMC).
One of NASA’s key technologies is the DED directional energy deposition additive manufacturing technology, which allows the entire thrust chamber assembly (TCA) to form all internal cooling channels at one time during the manufacturing process of the rocket thrust chamber nozzle, thereby eliminating the need for closed operations. , This benefit is obvious, not only can significantly reduce parts and welding operations, and make the entire thrust chamber assembly (TCA) more reusable.
Generally speaking, higher strength materials (such as carbon fiber composite materials) can greatly save weight. According to the understanding of 3D Science Valley, in some plans for rocket thrust chamber components in the United States and internationally, a composite material outer package has been studied To reduce weight.
In China, Interstellar Glory integrates the thrust chamber head, thrust chamber body and injector through an additive manufacturing process to make the thrust chamber structure more compact and precise, eliminating the need for a large number of welding processes in the thrust chamber manufacturing process. The machining process of some complex parts greatly shortens the manufacturing cycle of the thrust chamber, and at the same time fundamentally eliminates various deviations caused by the welding stress release of the traditional rocket engine thrust chamber, which greatly enhances the structural reliability of the thrust chamber. Because the edge injection structure set close to the inner wall of the thrust chamber injects fuel near the inner wall of the thrust chamber without oxidant injection, a low-temperature protective layer can be formed near the inner wall of the thrust chamber to prevent high-temperature gas from directly acting on the inner wall of the thrust chamber. damage.
The road to original innovation is tortuous and difficult, but3D printingThe development of the industry is driven by the intensity of technology applications. Innovation often comes from the combination of cross-border technologies. In the field of rocket manufacturing, this is particularly obvious. We can see it clearly.3D printingTechnology combined with additive thinking-oriented design and advanced material technology is giving birth to a new generation of rocket manufacturing technology.
(Editor in charge: admin)



0 Comments for “Learn more about Aerojet Rocketdyne’s use of 3D printing for passively cooled aviation jet rocket development”