For parts that need to operate under high temperature conditions in aviation or gas turbine engines, many parts need to have cooling channels. In this regard, according to market observations from 3D Science Valley, in addition to cooling channels, lattice structures have also received in-depth research and applications in terms of heat dissipation.
Previously, I shared the gas turbine engine components with lattice structure cooling solution developed by UTC Joint Technology.3D printingGas turbine components with lattice cooling structure.
In a gas turbine engine, the ambient air is usually partially compressed by a compressor and supplied to the combustor. The combustor of the gas turbine engine combusts the air and fuel together to provide driving force for the subsequent turbine section. The hot fluid from the combustor will Drive the rotor blades of the turbine, thereby driving the operation of the shaft again.
Schematic diagram of a Siemens gas turbine. Source: US10781696B2
In the downstream part passing through the burner, the temperature can be as high as 1,500C or even higher. Nevertheless, the materials commonly used in gas turbine engines cannot withstand temperatures above 800C. Therefore, these components may need to be cooled or special coatings may be required to protect the components. Usually, it can be cooled by taking a part of air or fluid from the compressor-that is, branching out from the main fluid channel-and guiding it to the component that needs to be cooled, and then cooling the part to be cooled through different measures, such as impingement cooling, film cooling, Jet cooling, transpiration cooling or convection cooling. It must be realized that the life of a component depends to a large extent on the degree to which the component will not withstand temperatures exceeding the expected temperature level.
The hottest area in a gas turbine engine is located in the combustion chamber, and the temperature levels experienced by the components may change at different locations within the engine. For example, the upstream area of the combustion liner wall may experience higher temperatures than the downstream area of the same combustion liner.
Unlock the potential for structural integration
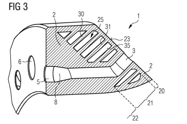
Generally, the components to be cooled in a gas turbine engine are basically the combustion chamber, the turbine section and the transition piece, that is, a part of the transition duct between the combustion chamber and the turbine section. According to Siemens’ patent US10781696B2, which was approved on September 22, 2020, Siemens has developed a method for manufacturing turbine components, which includes the steps and techniques to produce turbine components as previously defined as one-piece components.pass through3D printing-Additive manufacturing technology, especially PBF, is based on the selective laser melting or electron beam melting of the powder bed to build components layer by layer, thereby reducing the number of parts and obtaining the entire component in a structurally integrated manner.
Sectional view of Siemens 3D burner head. Source: US10781696B2
Through additive manufacturing technology, complex lattice structures can be constructed in components. According to the understanding of 3D Science Valley, the high-efficiency cooling realized by Siemens is provided by the lattice structure. The lattice structure can also guide cooling air or cooling fluid. The outlet temperature of the compressor may reach 350 to 550C.
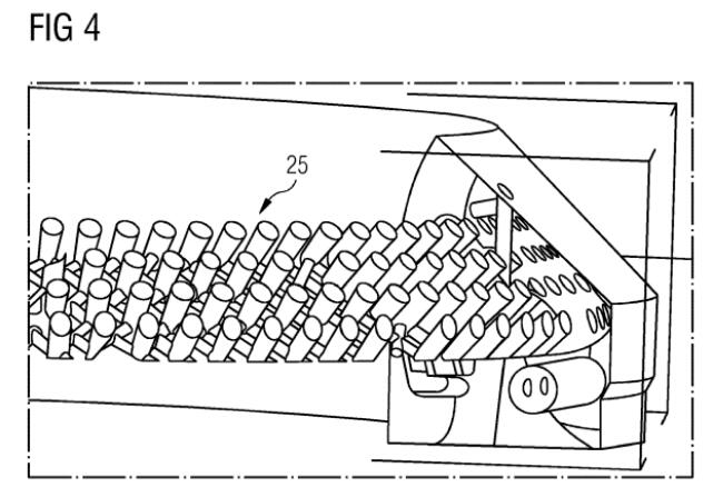
The Siemens lattice structure is defined by conical pillars arranged in a periodic manner. Source: US10781696B2
The pillars exist in the lattice structure, and the pillars provide sufficient heat conduction, and the high temperature connected to the pillars enters the lattice structure through the pillars. The heat inside the pillars can be transferred by flowing a cooling fluid through the voids of the lattice structure. The voids penetrated or pierced by the plurality of struts define the flow path in a tortuous form. The cooling fluid passes through a large number of pillars to bypass the grid structure and provide good heat transfer to cool the first part of the main body of the turbine component.
Siemens burner head. Source: US10781696B2
The pillars are rod-shaped, and pillars of this shape are called towers. The pillars can be columnar or cylindrical. These configurations are beneficial because the cooling fluid can pass along the entire circumference of the corresponding pillar.Lattice lattice structure through3D printingAdditive manufacturing technology is realized, these structures cannot be realized by previously known technologies (such as cutting or drilling on the body).
In applying the lattice structure to the cooling scheme, major gas turbine and aero engine manufacturers have made efforts. According to the understanding of 3D Science Valley,UTCThe lattice structure designed by United Technologies can be adapted to the specific cooling requirements of any given gas turbine engine component or a certain part of the component. In other words, by changing the design and density of the lattice structure, it can be adjusted to match the external thermal load and local life requirements.
However, for any given lattice structure, the actual design may depend on the geometry of the component. Various requirements also need to be considered, including pressure loss, local cooling flow, cooling air heat absorption, thermal efficiency, overall cooling efficiency, aerodynamic mixing, and productivity considerations, as well as specific parameters of the gas turbine engine.
To simplify understanding3D printingIn the application logic of power parts, the development requirements of power equipment can be summarized as bright spots: strong explosive power and high safety.and3D printingThe freedom of design and manufacturing is released, and the kinetic energy of power equipment is improved by optimizing the mixing ratio of fuel and air; on the other hand, through3D printingThe cooling channel or copper metal improves the fast heat dissipation performance of power equipment and obtains higher safety.The combination of lattice structure and cooling channels can be said to be sufficient3D printingAdvantage of the “stroke of magic”! Not only in the aerospace and gas turbine fields, the lattice structure used to improve heat exchange efficiency has also been actively tried in the automotive industry. In this regard, according to market observations from 3D Science Valley, many companies have conducted heat dissipation through lattice structures. The commercialization efforts include HiETA Technologies and Delta Motorsport’s cooperation to design and manufacture parallel flow heat exchangers for micro gas turbine systems, and the next generation of high-efficiency heat exchangers manufactured by Conflux.Previously, Fiat Chrysler (FCA Automobile Group) also established a cooperation with McMaster University, with the goal of designing a new aluminum car radiator that would allow3D printingThe car radiator realized by the technology can be lighter than the car radiator used in the cars produced by the FCA Group, and its performance can also be guaranteed.
(Editor in charge: admin)







0 Comments for “Insight into Siemens 3D printing gas turbine components with lattice cooling structure”