Wayne King, the Director of Accelerated Certification for Metal Additive Manufacturing of LLNL National Laboratory, talked about relying on human experience to improve processing quality in the Industry in 3D talk show series created by GE. This process is full of pain and suffering.This kind of processing technology based on human experience will be replaced by processing technology based on science. He believes that pre-feedback will overturn the current3D printingstatus quo.
Pre-feedback image3D printingThe brain of the device “tells” the printer what to do to avoid errors. Use the latest information available to make serious and repeated forecasts, compare the goals to be achieved by the plan with the forecasts, and take measures to modify the plan so that the forecasts are consistent with the planned goals.Today, according to market observations from 3D Science Valley, GE’s dynamic control of3D printing-The patent for the additive manufacturing process was passed, and the core of this is the pre-feedback.
Science and technology replace human experience
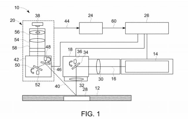
In the current selective laser metal melting system based on a powder bed, a laser device generates a laser beam, which is incident on the area on the powder bed to melt the powder material, thereby forming a molten pool. In some known additive manufacturing systems, parts may be subjected to excessive heat or conduction or splashing in the molten pool during processing, which may cause quality hazards. In addition, the heat transfer between the materials during the solidification process brings about the adhesion of the semi-melted powder to the parts, indicating that the surface quality of the parts is reduced, especially the surface quality of the overhanging or downward facing areas. The increased size and depth of the molten pool and the flow of molten metal often result in poor surface finishes that drape or face downwards. GE’s “Systems and Method for Advanced Additive Manufacturing” patent passed on August 18, 2020 describes GE’s dynamic control3D printing-Additive manufacturing process. This patent provides a method for dynamically adapting the additive manufacturing of parts.
By storing the construction file used to construct one or more parts of construction parameters, and receiving multiple construction information. Each of the plurality of construction information includes information captured by at least one of the plurality of machines on the part construction process sensor. The sensor information is compared with the construction parameters to determine the difference and determine whether to adjust the construction parameters.
In the control process of the processing technology, GE uses digital twin technology and trains the processor or processing components through machine learning. The machine learning program can use a neural network, which can be a convolutional neural network, and machine learning may involve Identify patterns in existing data to facilitate predictions on subsequent data.
GE “Systems and Method for Advanced Additive Manufacturing” patent
Crossover of Alpha Go technology
According to industry experts, convolutional neural network is an artificial neural network structure that has gradually emerged in recent years. Because the use of convolutional neural network can give better prediction results in image and speech recognition, this technology is also widely used Propagation can be applied. The most commonly used aspect of convolutional neural networks is computer image recognition, but because of continuous innovation, it is also used in video analysis, natural language processing, drug discovery, and so on. Including Alpha Go, which allows computers to understand Go, also applies this technology.
So what is the calculation principle of convolutional neural network? “Convolution” and “Neural Network”. Convolution means that the neural network no longer processes the input information of each pixel, but processes each small pixel area on the picture. This approach strengthens the picture Continuity of information. So that the neural network can see the graph instead of a point. This approach also deepens the neural network’s understanding of pictures. Specifically, the convolutional neural network has a batch filter that continuously scrolls on the picture to collect the information in the picture. Each time it is collected, only a small pixel area is collected, and then the collected information is sorted. The information sorted out at this time has some actual presentations. For example, the neural network at this time can see some edge image information, and then in the same step, use a similar batch filter to scan the generated edge information. The neural network summarizes the higher-level information structure from the edge information. For example, the summarized edge can draw eyes, nose, and so on. After filtering again, the information of the face is also summarized from the information of the eyes and nose. Finally, we put this information into several ordinary fully connected neural layers for classification, so that we can get the result of what kind of input images can be classified.
Take the powder bed metal melting technology as an example. The metal powder is solidified layer by layer to become the final part. During the layer solidification, there is an image imaging process corresponding to the model slice. In this way, the convolutional nerve Network principles are used3D printingThe feedforward control is quite potential for development.
(Editor in charge: admin)





0 Comments for “GE’s patent for dynamic control of 3D printing-additive manufacturing process passed”