about3D printingThe application prospects in the field of aeroengines. When the first sensor appeared on the GE90-94B jet engine in 2015, it became the first FAA-certified additive-manufactured aircraft engine component.In the following years, GE achieved 304 on GE9X in 20193D printingBeyond the parts! It can be seen that3D printingIs leading the continuous surpassing of engine performance.In this issue, let’s have a taste of domestic3D printingResearch progress in the field of aeroengines.
Pass 300 parts3D printingAchieve structural integration. Source: GE
3D printingUpgrade engine performance
l Southern University of Science and Technology
-Integrated design and manufacturing of combustion components
According to the patent CN108592086A of Southern University of Science and Technology, Southern University of Science and Technology has developed an integrated design and manufacturing method for micro gas turbine engine combustion components. The combustion component includes a flame tube and a nozzle. The flame tube includes a main body, the main body is provided with a through hole, and the through hole communicates with the outside of the combustion chamber and the flame tube.
The country’s first full3D printingMicro gas turbine engine
The combustion chamber includes opposite head and tail. The gas enters the flame tube from the head and through holes and flows out of the flame tube from the tail. The nozzle is arranged on the head, and the nozzle and the flame tube are integrated by additive manufacturing technology.

Southern University of Science and Technology uses additive manufacturing technology to integrate the design and manufacture of the combustion components of the engine. The flame tube and nozzle are integrated into a whole, which can simplify the structure of the combustion component and reduce the support and connection structure between the components of the combustion component. It is easy to process, is beneficial to reduce weight, improve reliability, and reduce processing and maintenance costs.This is the first domestic3D printingFor the micro gas turbine engine, Nexperia Asia-Pacific provided simulation work.
Anshi Asia PacificMicro-turbine simulation technology
In terms of commercial applications, micro-aviation engines are used as power sources and have important strategic significance for small aircraft, aircraft, ship auxiliary power, and even missiles in national security and national defense. It also has technological innovation significance for civilian energy supply methods.
l AVIC Commercial Aviation Engine
-Hollow fan blade
According to the patent CN106032808A of AVIC Commercial Aero Engine, AVIC Commercial Aero Engine has developed a hollow fan blade. The hollow fan blade includes a hollow blade body. At least one tree-shaped rib is arranged in the hollow area along the radial direction. AVIC Commercial Aviation Engine Co., Ltd. is able to apply tree-shaped ribs in the hollow area of the blade body, which can be applied to the lower chord length of the blades with small middle and lower chords and high stress during operation. The middle and upper chords of the blades are longer and thinner during operation. The characteristic of large deformation, therefore, by providing tree-shaped ribs, the hollow rate of the blade can be further improved, and the impact resistance can be ensured.Hollow fan blades are made of metal materials and pass3D printing-Processed by additive manufacturing technology.
l Xi’an Jiaotong University
-Hot end parts of high-entropy alloy turbine engine
According to the patent CN104308153B of Xi’an Jiaotong University, Xi’an Jiaotong University has developed a method for manufacturing the hot end parts of a high-entropy alloy turbine engine based on selective laser melting. There are eight kinds of high melting points from tungsten, titanium, zirconium, hafnium, vanadium, niobium, tantalum and molybdenum. Any five or more than five metal powders are selected and uniformly mixed according to a certain molar ratio to obtain high-entropy alloy powder. The hot end part blank of the turbine engine is rapidly formed by the selective laser melting technology, and then the blank is heat treated and finished to obtain the high-entropy alloy hot end part of the turbine engine with good high temperature performance. The formed hot end parts of the turbine engine have high density and superior high temperature performance, and at the same time have high forming precision and surface accuracy, which can realize the rapid and accurate manufacturing of the hot end parts of the high-performance turbine engine.
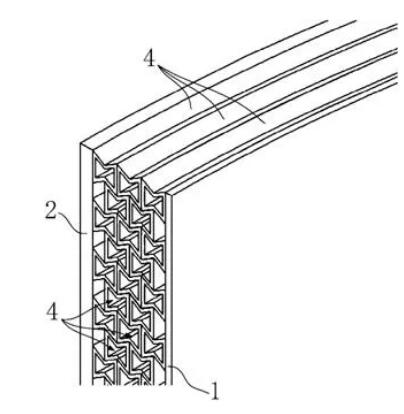
l Nanjing University of Aeronautics and Astronautics
-Engine containment ring with honeycomb-type negative Poisson’s ratio structure
According to the patent CN109113810A of Nanjing University of Aeronautics and Astronautics, Nanjing University of Aeronautics and Astronautics has developed an engine containment ring with a honeycomb-type negative Poisson’s ratio structure, including an inner ring, an outer ring, and a sandwich between the inner ring and the outer ring. The interlayer has multiple cells in a honeycomb shape. The cells extend in the circumferential direction and have a negative Poisson’s ratio in the radial section; the radial section of each cell has two first cell walls and four concave first walls. Two cell walls, the first cell wall respectively extends on two circumferential surfaces concentric with the inner ring and the outer ring, the first cell wall and the second cell wall are connected and enclose a concave hexagonal structure; Two adjacent cells are attached to each other through their respective second cell walls. The containment ring has good impact resistance and energy absorption capacity to ensure the reliability of the engine; and also has a good weight reduction effect, which can fully tap the potential of lightweight structural design of aviation components.
Schematic diagram of the engine containment ring structure of the honeycomb negative Poisson’s ratio structure
l Beijing Power Machinery Research Institute
-Turbine engine flow guide components
According to the patent CN110617115A of Beijing Power Machinery Research Institute, the turbine engine deflector ring assembly produced by additive manufacturing method is integrated through reasonable structural design, and has small size, light weight and fast forming progress. , High efficiency, high degree of agreement with the model, few and small internal defects, and strong versatility of processing materials.
Turbine engine deflector ring assembly produced by additive manufacturing method
Other aspects include the establishment of Aviation Manufacturing Co., Ltd. in Xi’an in3D printingThe exploration in the field of processing methods to replace the casting fuel nozzle shell; the exploration of the lightweight design of fuel nozzles by the Institute of Engineering Thermophysics of the Chinese Academy of Sciences; the research of the Xi’an Aircraft Design and Research Institute of China Aviation Industry Corporation in the lightweight aircraft engine suspension structure Explore and more.
(Editor in charge: admin)





0 Comments for “An article to appreciate the domestic research progress in the field of 3D printing aeroengines”